Diagram Sections: 115DETO (1996)
Download as PDF-
Bottom Cowling
-
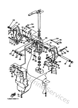
Bracket 1
-
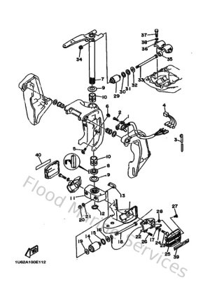
Bracket 2
-
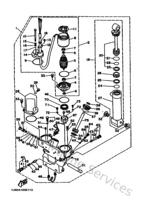
Carburetor
-
Control
-
Crankshaft & Piston
-
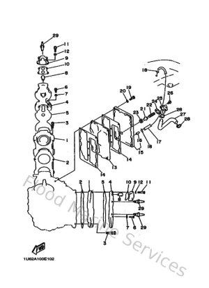
Cylinder & Crankcase 1
-
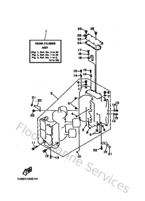
Cylinder & Crankcase 2
-
Electrical 1
-
Electrical 2
-
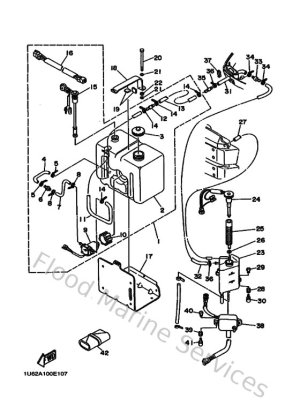
Fuel
-
Generator
-
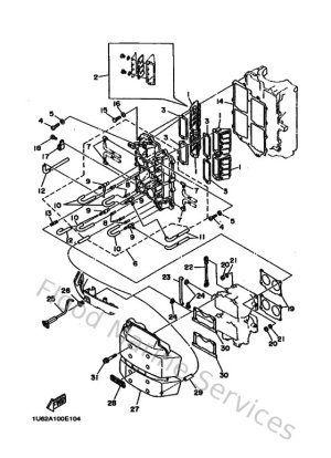
Intake
-
Lower Casing & Drive 1
-
Lower Casing & Drive 2
-
Oil Pump
-
Oil Tank
-
Power Trim & Tilt Assy 1
-
Repair Kit 1
-
Repair Kit 2
-
Starting Motor
-
Top Cowling
-
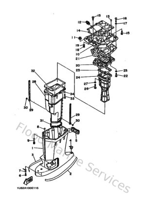
Upper Casing