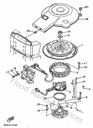
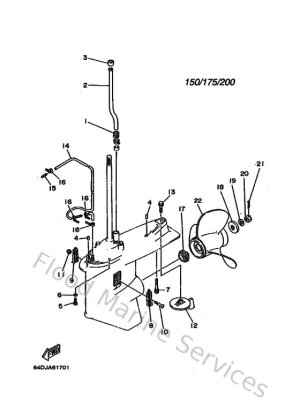
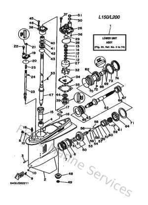
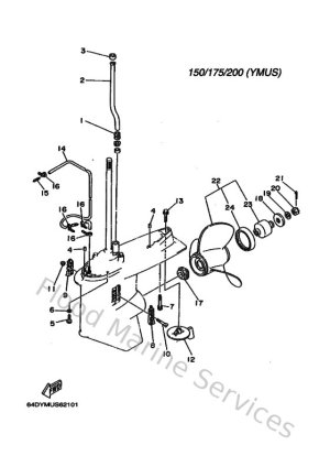
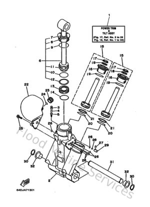
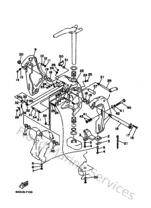
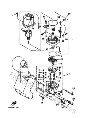
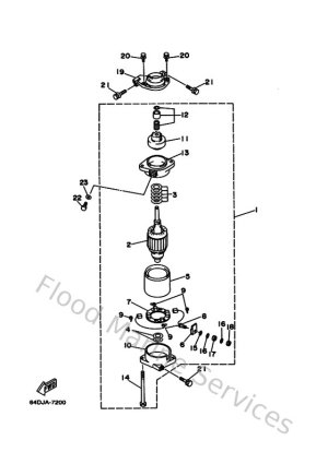
Diagram Sections: 150FETOL (1997)

Download as PDF