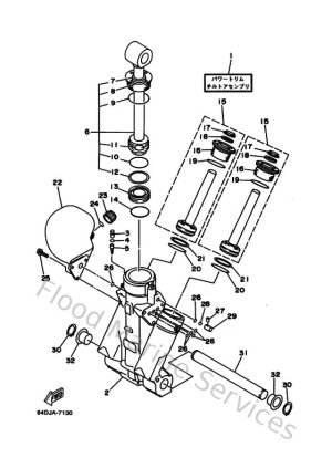
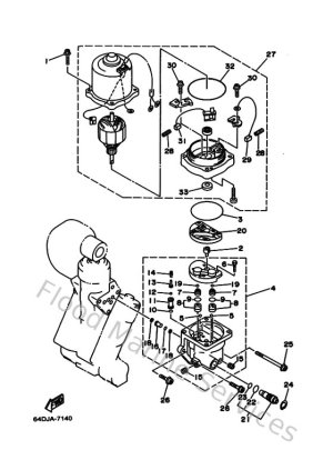
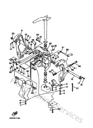
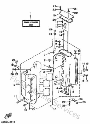
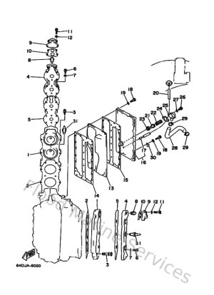
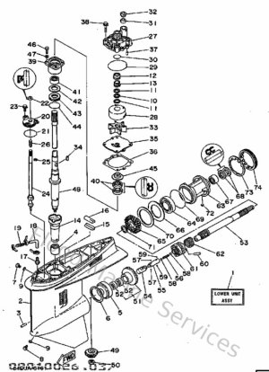
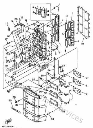
Diagram Sections: 200FETOL (1998)

Download as PDF