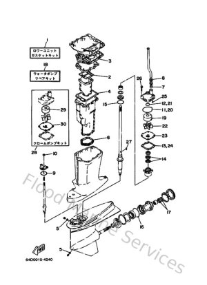
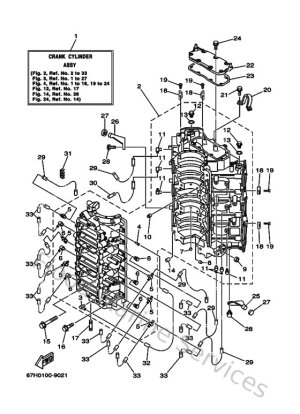
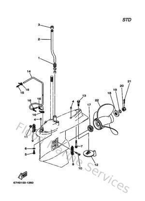
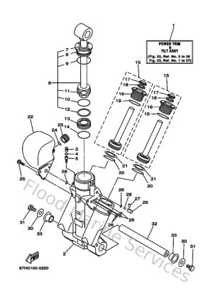
Diagram Sections: 200JETOL (2001)

Download as PDF