Diagram Sections: 225DETOL (1997)
Download as PDF-
Bottom Cowling
-
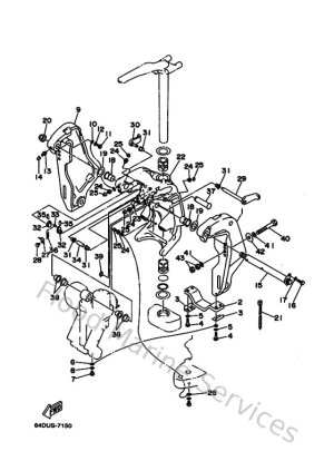
Bracket 1
-
Bracket 2
-
Carburetor
-
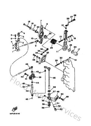
Control
-
Crankshaft & Piston
-
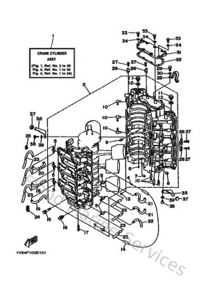
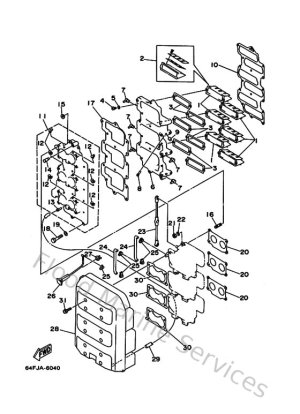
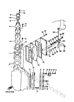
Cylinder. Crankcase 1
-
Cylinder. Crankcase 2
-
Electrical 1
-
Electrical 2
-
Fuel
-
Generator
-
Intake
-
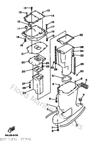
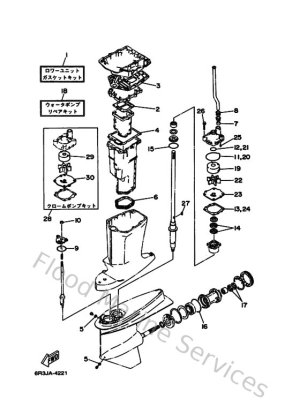
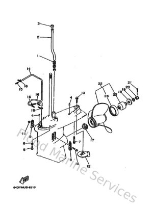
Lower Casing. Drive 1
-
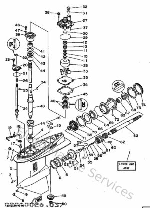
Lower Casing. Drive 2
-
Lower Casing. Drive 2 (USA)
-
Oil Pump
-
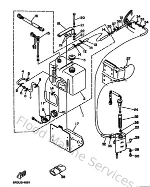
Oil Tank
-
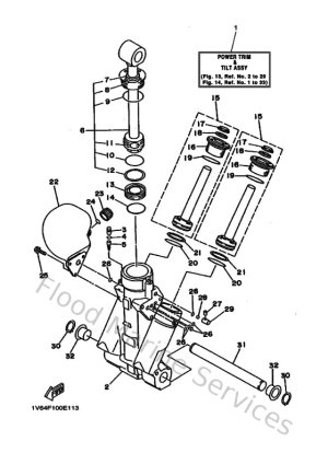
Power Trim & Tilt Assy 1
-
Power Trim & Tilt Assy 2
-
Repair Kit 1
-
Repair Kit 2
-
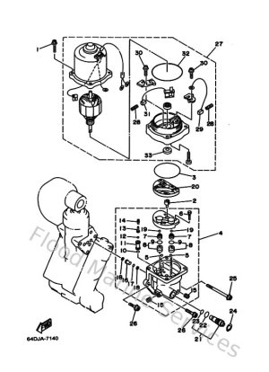
Starting Motor
-
Top Cowling
-
Upper Casing