Diagram Sections: 250BETOXL (1997)
Download as PDF-
Bottom Cowling
-
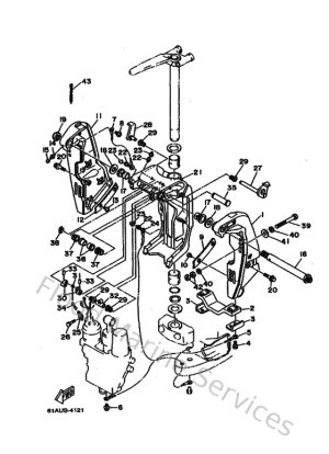
Bracket 1
-
Bracket 2
-
Control
-
Crankshaft & Piston
-
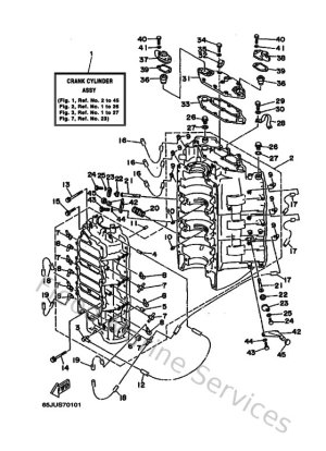
Cylinder & Crankcase 1
-
Cylinder & Crankcase 2
-
Electrical 1
-
Electrical 2
-
Electrical 3
-
Electrical 4
-
Fuel
-
Fuel Injection Nozzle
-
Fuel Injection Pump
-
Intake
-
Lower Casing & Drive 1
-
Lower Casing & Drive 2
-
Lower Casing & Drive 3
-
Lower Casing & Drive 4
-
Magneto
-
Oil Pump
-
Oil Tank
-
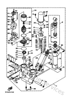
Power Trim & Tilt Assy 1
-
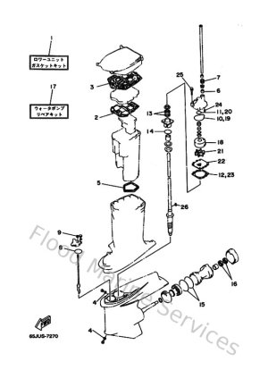
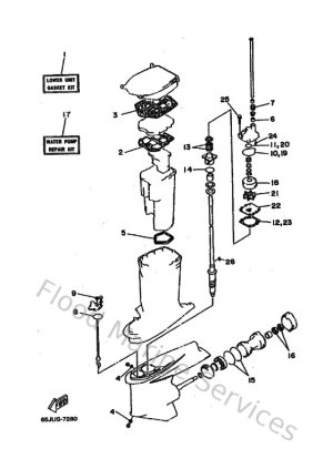
Repair Kit 1
-
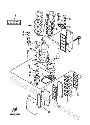
Repair Kit 2
-
Starting Motor
-
Top Cowling
-
Upper Casing