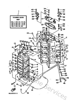
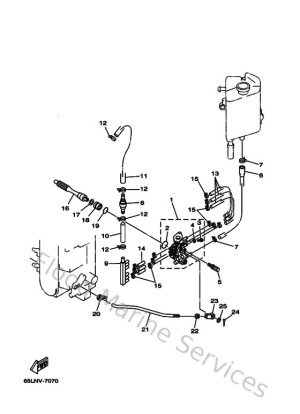
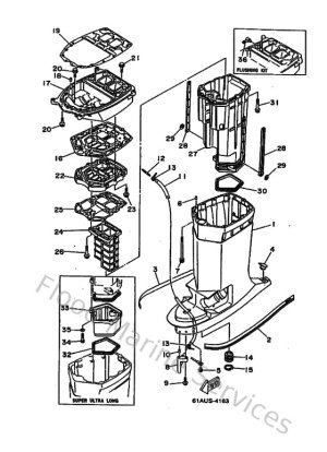
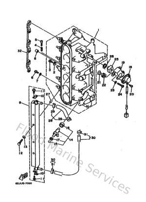
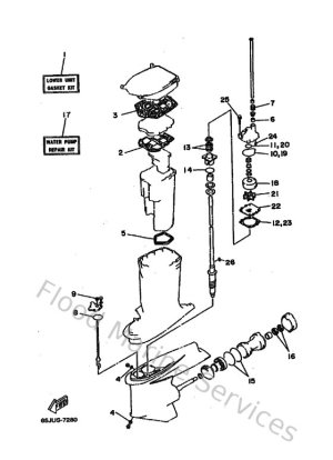
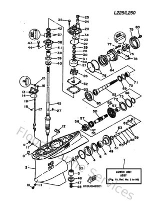
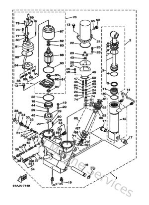
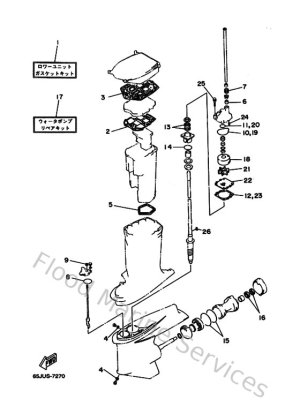
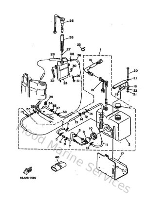
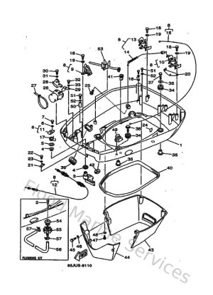
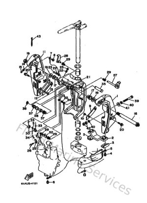
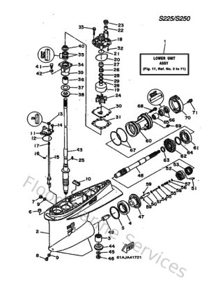
Diagram Sections: 250BETOXL (1998)

Download as PDF