New Search
Parts
New Outboards
Diagram Sections: 30GMH (1997)
Download as PDF
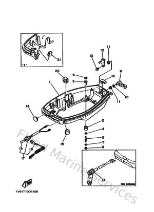
Bottom Cowling
Bracket 1
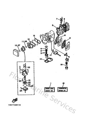
Carburetor
Control
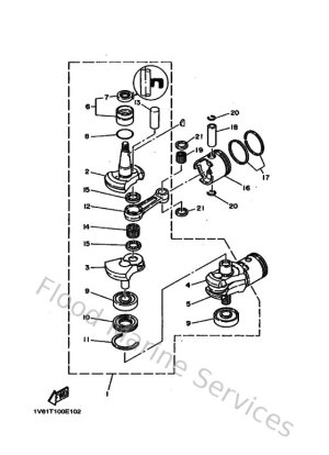
Crankshaft & Piston
Cylinder & Crankcase
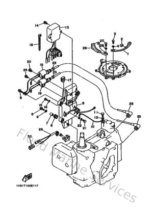
Electrical 1
Electrical 2 (ELECTRIC START)
Fuel
Generator
Intake
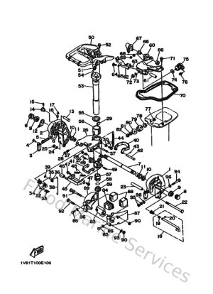
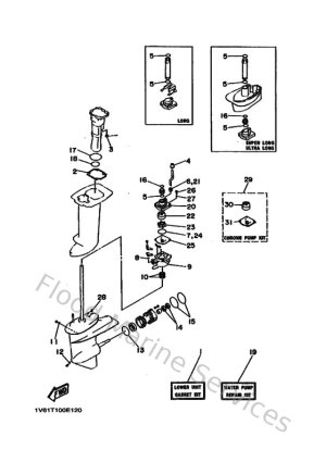
Lower Casing & Drive 1
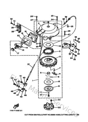
Lower Casing & Drive 2
Repair Kit 1
Repair Kit 2
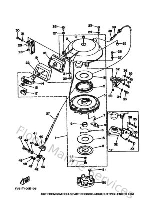
Starter
Starter (FOR USA)
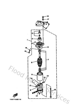
Starting Motor
Steering
Top Cowling
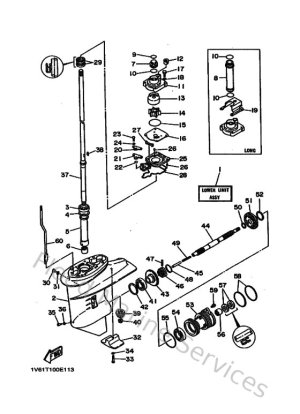
Upper Casing