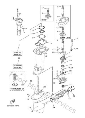
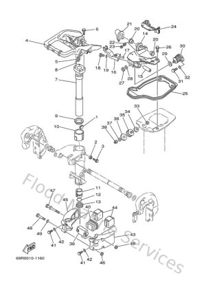
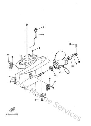
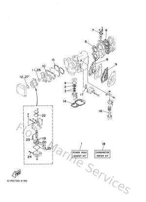
Diagram Sections: 30HMH (2001)

Download as PDF