New Search
Parts
New Outboards
Diagram Sections: 3AMH (1997)
Download as PDF
Control
Cowling & Fuel
Cylinder & Crankcase
Generatrice
Intake
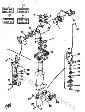
Kit De Reparation
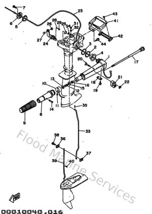
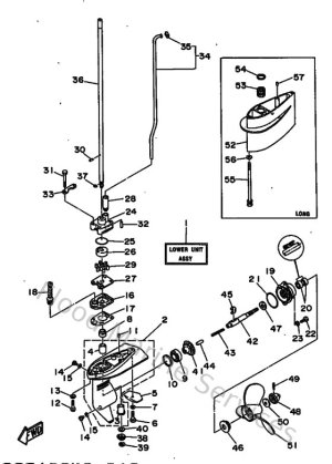
Lower Casing & Drive
Pieces Electrique
Starter
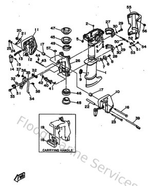
Upper Casing & Bracket