New Search
Parts
New Outboards
Diagram Sections: 40VMO (2001)
Download as PDF
Bottom Cowling
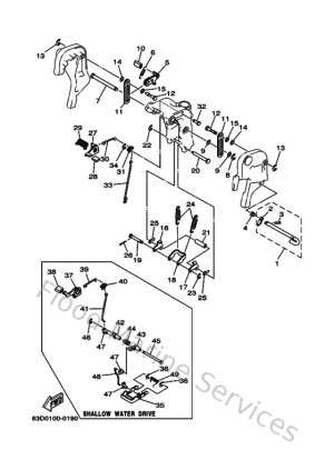
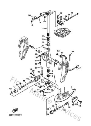
Bracket 2
Bracket 3
Bracket 4
Carburetor
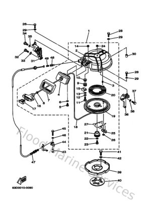
Control
Crankshaft & Piston
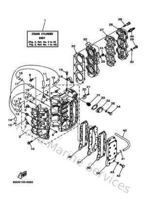
Cylinder & Crankcase
Electrical 1
Electrical 3
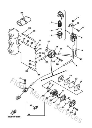
Fuel
Fuel 2
Generator
Intake
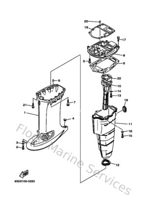
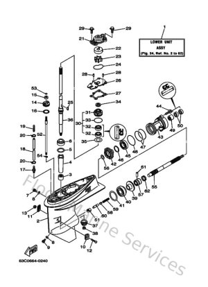
Lower Casing & Drive 1
Lower Casing & Drive 2
Repair Kit 1
Repair Kit 2
Starter
Steering
Top Cowling
Upper Casing