New Search
Parts
New Outboards
Diagram Sections: 4ACMH (1987)
Download as PDF
Control
Cowling
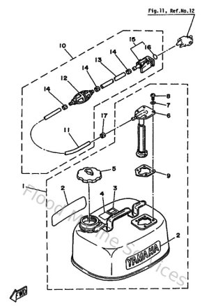
Cowling & Fuel
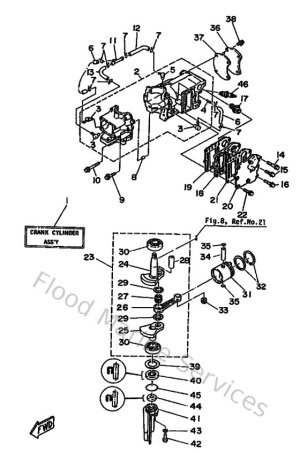
Cylinder & Crankcase
Electric Parts
Fuel
Intake
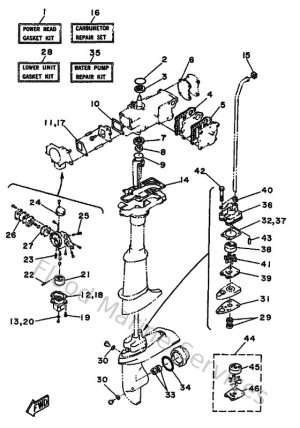
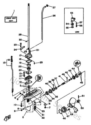
Lower Casing & Drive
Magneto
Optional Parts
Repair Kit
Starter
Upper Casing & Bracket