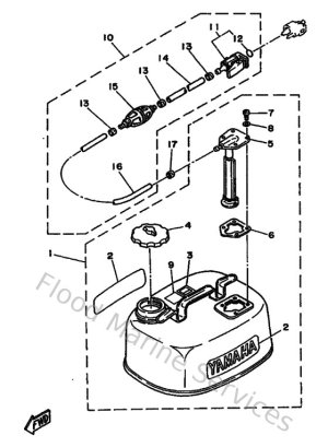
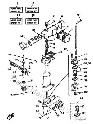
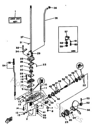
Diagram Sections: 4ACMH (1988)

Download as PDF