New Search
Parts
New Outboards
Diagram Sections: 4ACMH (1994)
Download as PDF
Bottom Cowling
Control
Cylinder & Crankcase
Generator
Intake
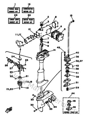
Kits De Reparation
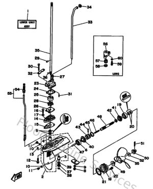
Lower Casing & Drive
Partie Electrique 1
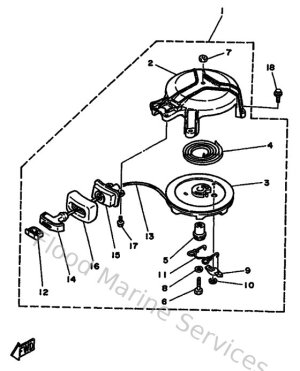
Starter
Top Cowling
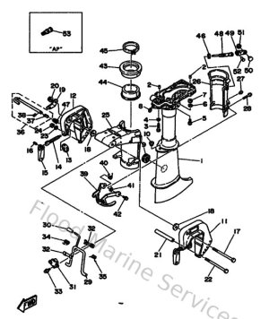
Upper Casing & Bracket