New Search
Parts
New Outboards
Diagram Sections: 4ACMH (1997)
Download as PDF
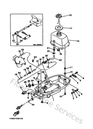
Bottom Cowling
Control
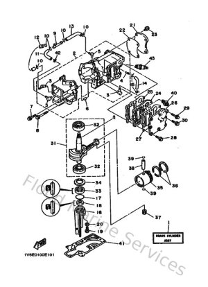
Cylinder & Crankcase
Electrical 1
Generator
Intake
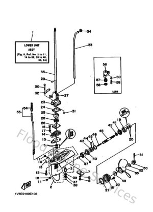
Lower Casing & Drive 1
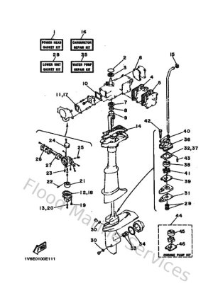
Repair Kit
Starter
Top Cowling
Upper Casing & Bracket