New Search
Parts
New Outboards
Diagram Sections: 4ACMH (1998)
Download as PDF
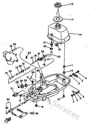
Bottom Cowling
Controller 1
Cylinder & Crankcase
Generatrice
Intake
Kit De Reparation
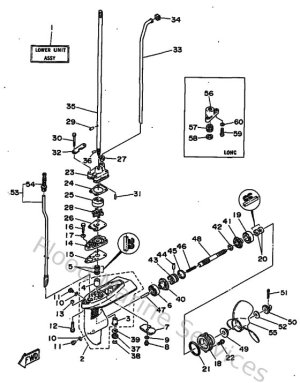
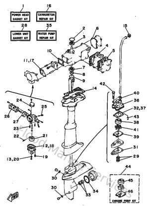
Lower Casing & Drive
Partie Electrique 1
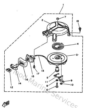
Starter
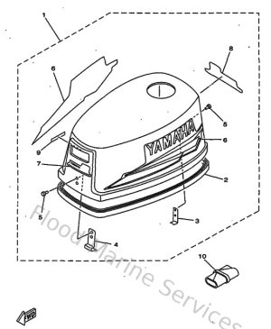
Top Cowling
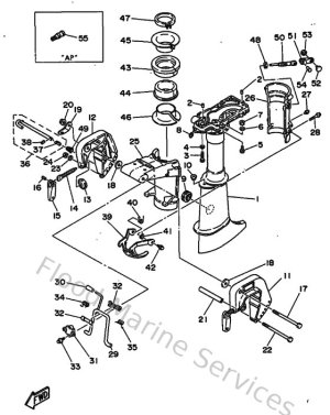
Upper Casing & Bracket