New Search
Parts
New Outboards
Diagram Sections: 5CMH (1987)
Download as PDF
Control
Cowling
Cowling & Fuel
Cylinder & Crankcase
Electric Parts
Fuel
Intake
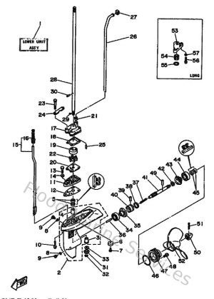
Lower Casing & Drive
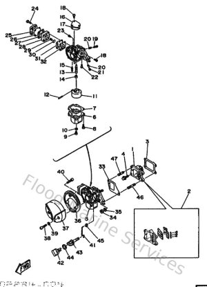
Magneto
Optional Parts
Repair Kit
Starter
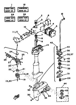
Upper Casing & Bracket