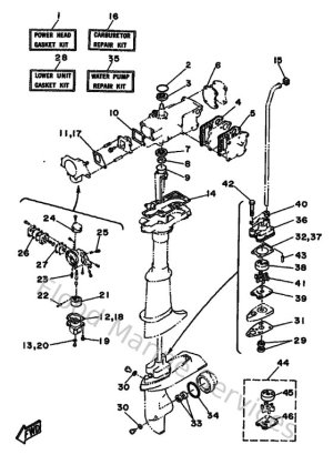
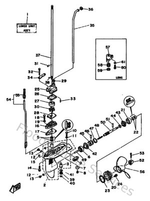
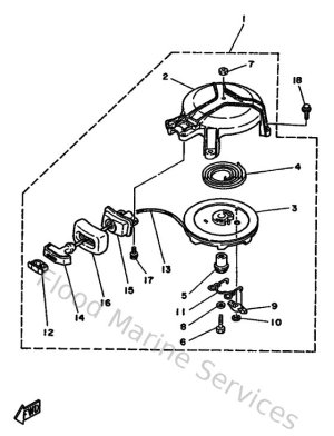
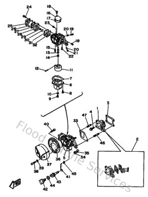
Diagram Sections: 5CMH (1989)

Download as PDF