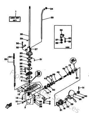
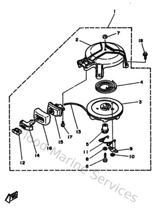
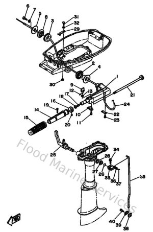
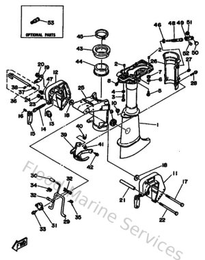
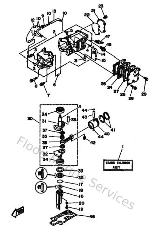
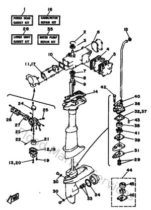
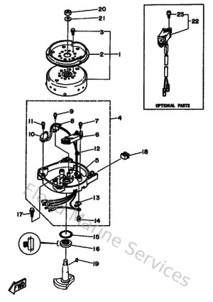
Diagram Sections: 5CMH (1992)

Download as PDF