New Search
Parts
New Outboards
Diagram Sections: 5CMH (1994)
Download as PDF
Bottom Cowling
Control
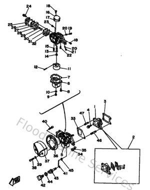
Cylinder & Crankcase
Generator
Intake
Kits De Reparation
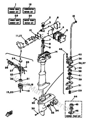
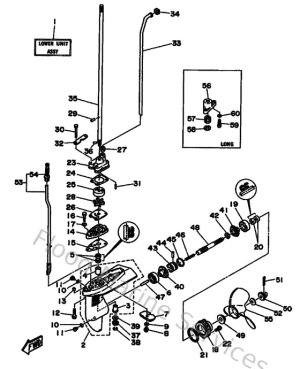
Lower Casing & Drive
Partie Electrique 1
Starter
Top Cowling
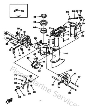
Upper Casing & Bracket