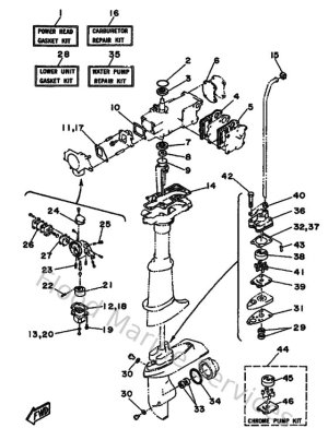
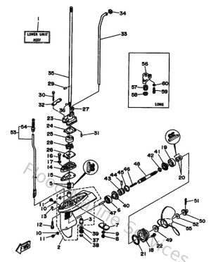
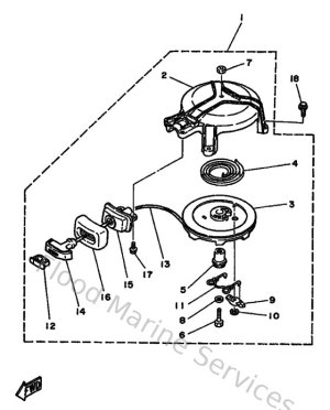
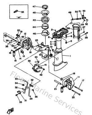
Diagram Sections: 5CMH (1995)

Download as PDF