New Search
Parts
New Outboards
Diagram Sections: 5CMH (1996)
Download as PDF
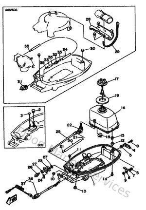
Bottom Cowling
Control
Cylinder & Crankcase
Generator
Intake
Kits De Reparation
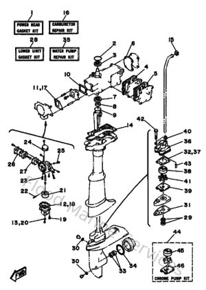
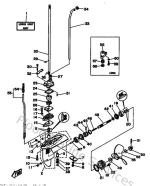
Lower Casing & Drive
Partie Electrique 1
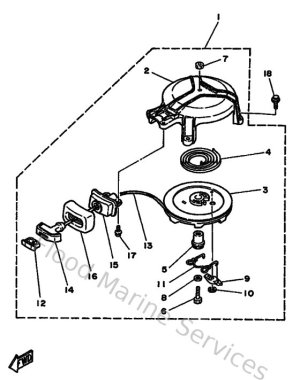
Starter
Top Cowling
Upper Casing & Bracket