New Search
Parts
New Outboards
Diagram Sections: 6DMH (2001)
Download as PDF
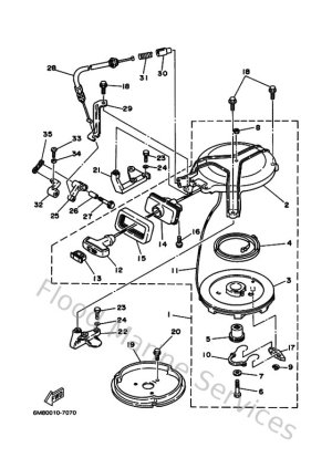
Bottom Cowling
Bracket 1
Carburetor
Control
Crankshaft & Piston
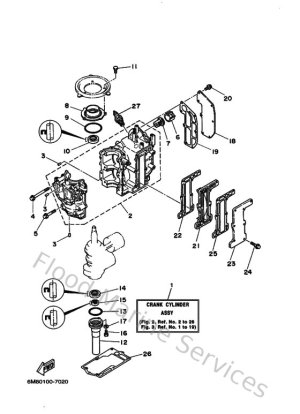
Cylinder & Crankcase
Electrical 1
Fuel
Fuel Tank
Generator
Intake
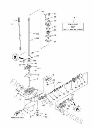
Lower Casing & Drive 1
Lower Casing & Drive 2
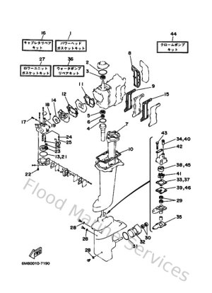
Repair Kit 1
Starter
Steering
Top Cowling
Upper Casing