New Search
Parts
New Outboards
Diagram Sections: 9.9DMH (1987)
Download as PDF
Bottom Cowling
Bracket
Control
Crankshaft & Piston
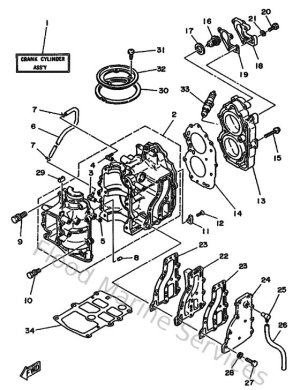
Cylinder & Crankcase
Electric Motor
Electric Parts
Fuel
Intake
Lower Casing & Drive 1
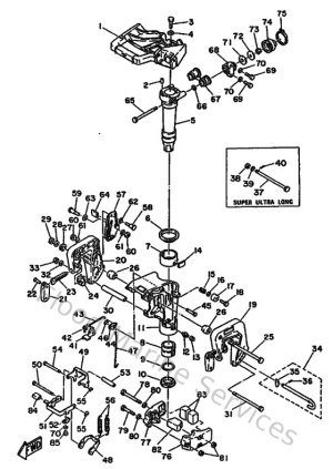
Lower Casing & Drive 2
Magneto
Optional Parts 1
Optional Parts 2
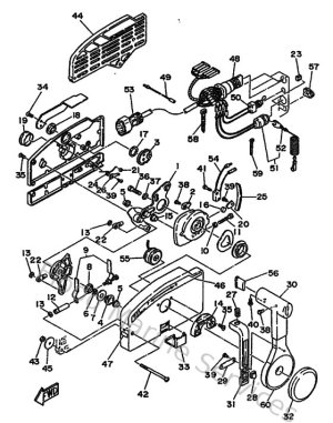
Remote Control
Remote Control Assy
Repair Kit 1
Repair Kit 2
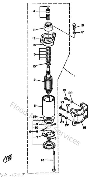
Starter
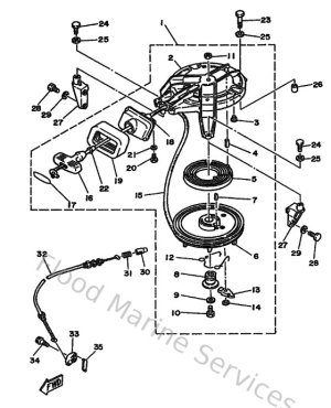
Top Cowling
Upper Casing