Diagram Sections: D150HETO (1999)
Download as PDF-
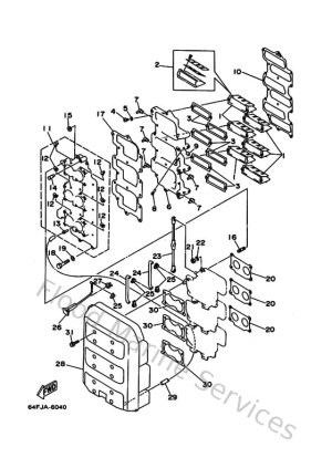
Bottom Cowling
-
Bracket 1
-
Bracket 5
-
Carburetor
-
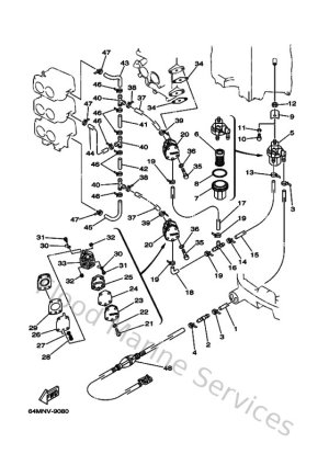
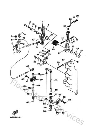
Control
-
Crankshaft & Piston
-
Cylinder & Crankcase
-
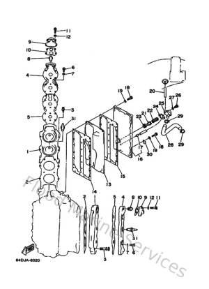
Cylinder & Crankcase 2
-
Electrical 1
-
Electrical 2
-
Fuel
-
Generator
-
Intake
-
Lower Casing & Drive 1
-
Lower Casing & Drive 2
-
Lower Casing & Drive 3
-
Meter
-
Oil Pump
-
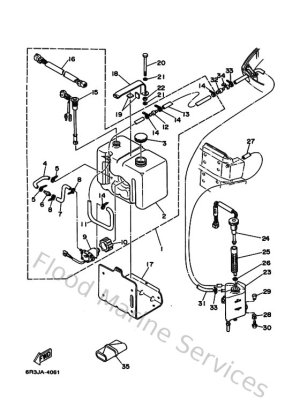
Oil Tank
-
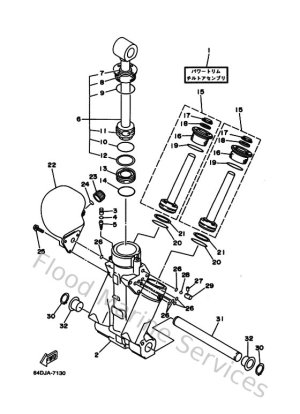
Power Trim & Tilt Assy 1
-
Power Trim & Tilt Assy 2
-
Remote Control
-
Remote Control Assy 1
-
Repair Kit 1
-
Repair Kit 2
-
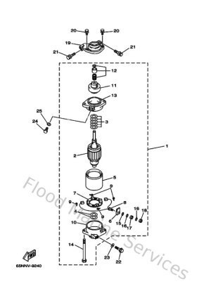
Starting Motor
-
Steering Guide
-
Top Cowling
-
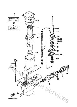
Upper Casing