Diagram Sections: D150HETO (2001)
Download as PDF-
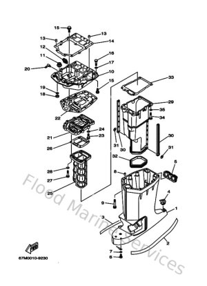
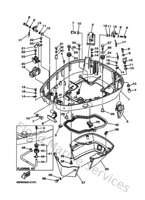
Bottom Cowling
-
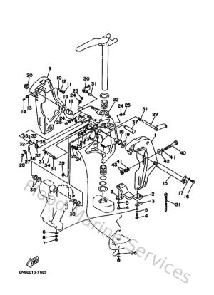
Bracket 1
-
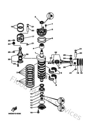
Bracket 2
-
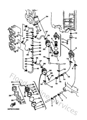
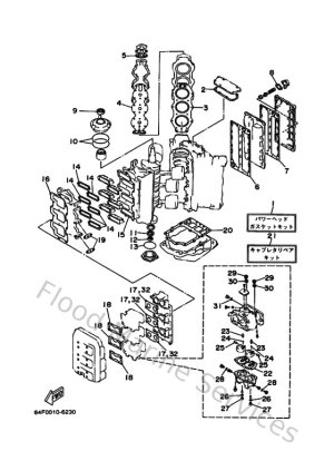
Carburetor
-
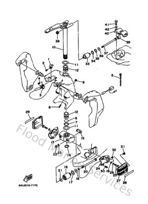
Control
-
Crankshaft & Piston
-
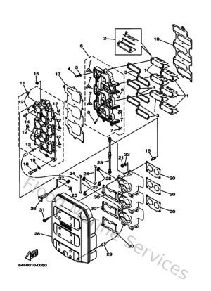
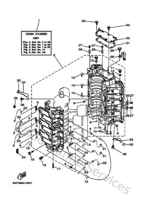
Cylinder & Crankcase 1
-
Cylinder & Crankcase 2
-
Electrical 1
-
Electrical 2
-
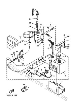
Fuel 1
-
Fuel 2
-
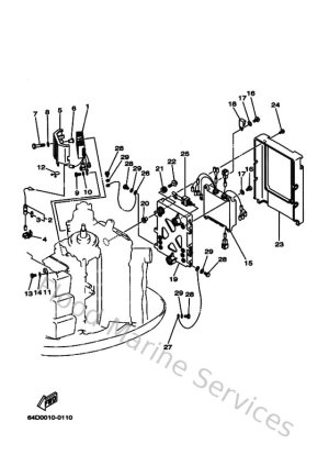
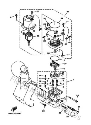
Generator
-
Intake
-
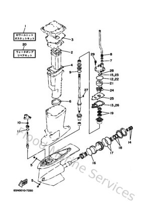
Lower Casing & Drive 1
-
Lower Casing & Drive 2
-
Lower Casing & Drive 3
-
Meter
-
Oil Pump
-
Oil Tank
-
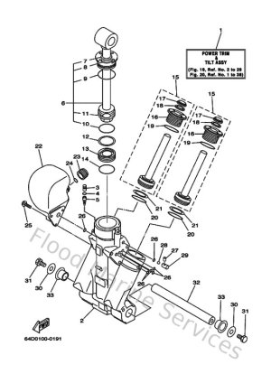
Power Trim & Tilt Assy 1
-
Power Trim & Tilt Assy 2
-
Repair Kit 1
-
Repair Kit 2
-
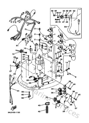
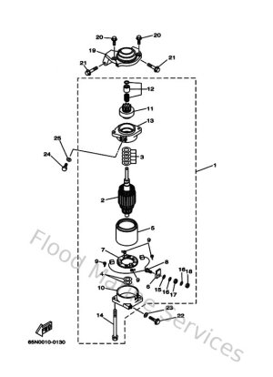
Starting Motor
-
Top Cowling
-
Upper Casing