New Search
Parts
New Outboards
Diagram Sections: E25AMH (2001)
Download as PDF
Bottom Cowling
Bracket 1
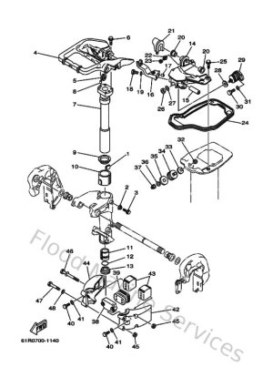
Bracket 2
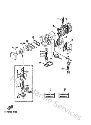
Carburetor
Control
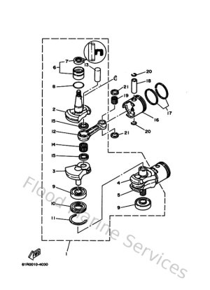
Crankshaft & Piston
Cylinder & Crankcase
Electrical 1
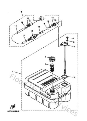
Fuel
Fuel Tank
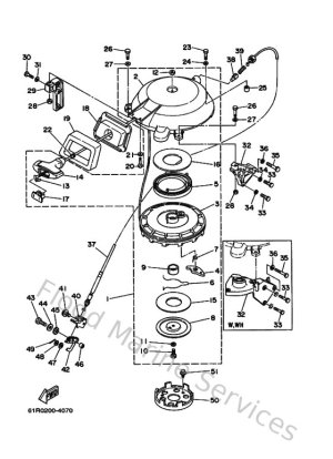
Generator
Intake
Lower Casing & Drive 1
Lower Casing & Drive 2
Repair Kit 1
Repair Kit 2
Starter
Steering
Top Cowling
Upper Casing