Diagram Sections: F15AMH (1998)
Download as PDF-
Bottom Cowling
-
Bracket 1
-
Bracket 2
-
Carburetor
-
Control
-
Crankshaft & Piston
-
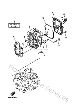
Cylinder & Crankcase
-
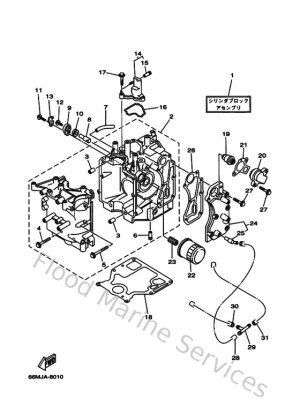
Cylinder & Crankcase 2
-
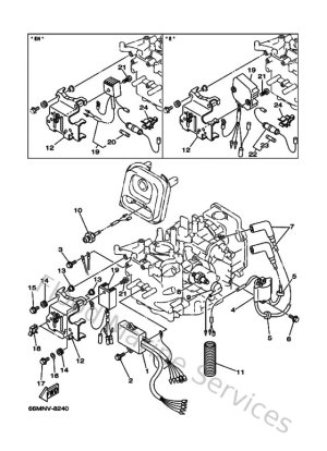
Electrical 1
-
Fuel
-
Fuel 2
-
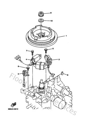
Generator
-
Intake
-
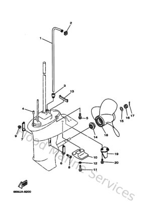
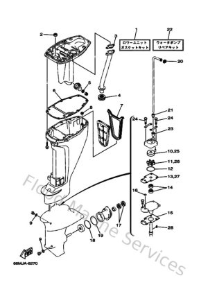
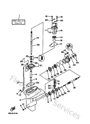
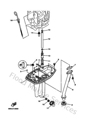
Lower Casing & Drive 1
-
Lower Casing & Drive 2
-
Oil Pan
-
Oil Pump
-
Repair Kit 1
-
Repair Kit 2
-
Repair Kit 3
-
Starter
-
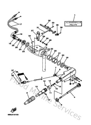
Steering
-
Steering 2
-
Top Cowling
-
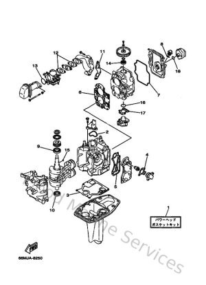
Upper Casing
-
Valve