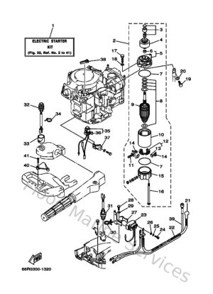
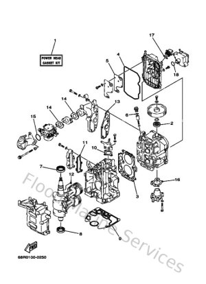
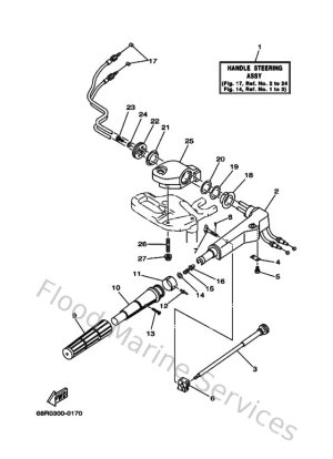
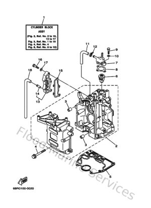
Diagram Sections: F8CMH (2001)

Download as PDF