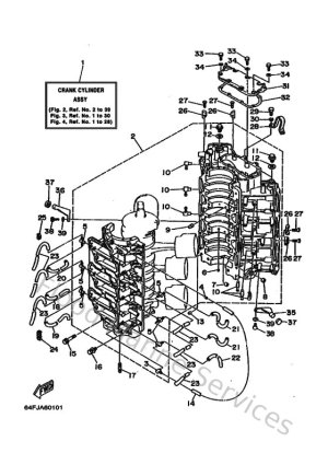
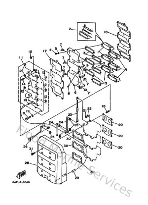
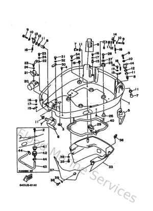
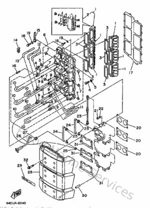
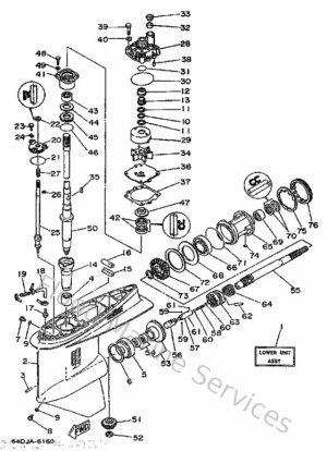
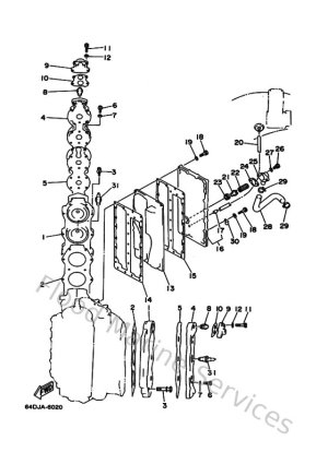
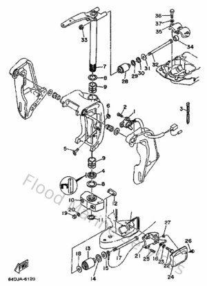
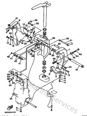
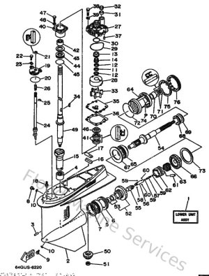
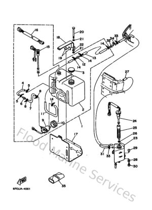
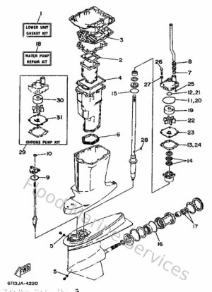
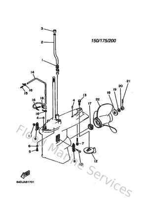
Diagram Sections: L150FETOL (1996)

Download as PDF