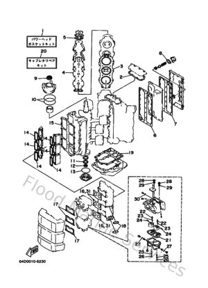
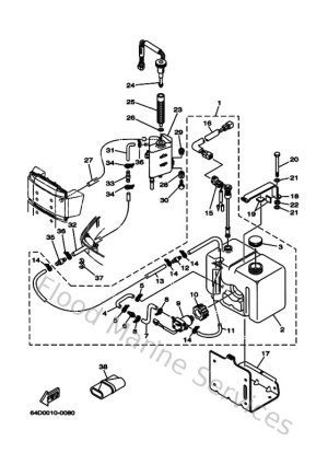
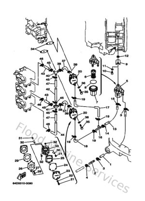
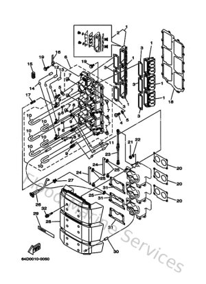
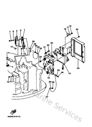
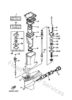
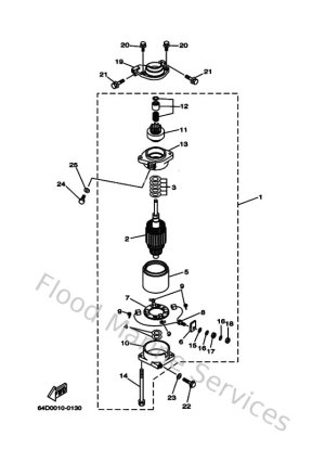
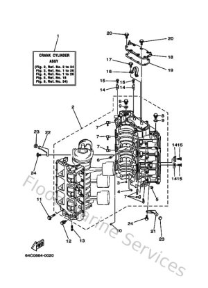
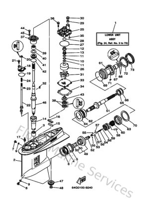
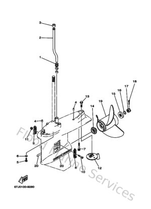
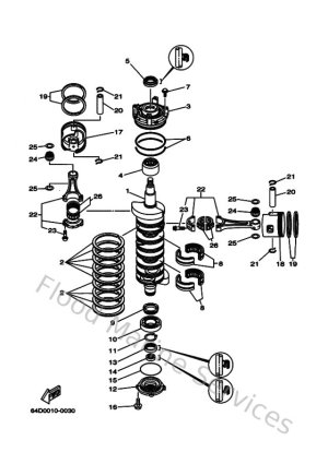
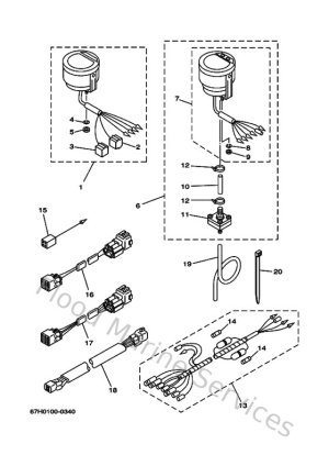
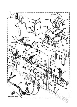
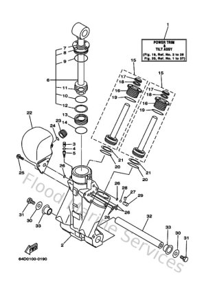
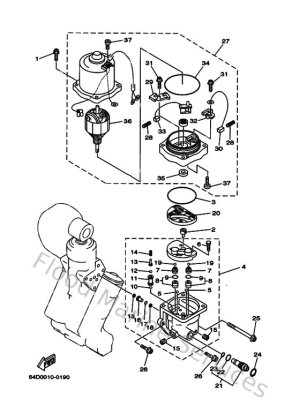
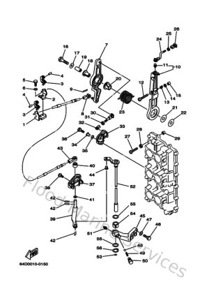
Diagram Sections: L150FETOL (2000)

Download as PDF