Diagram Sections: L225FETO (2001)
Download as PDF-
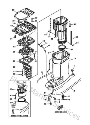
Bottom Cowling
-
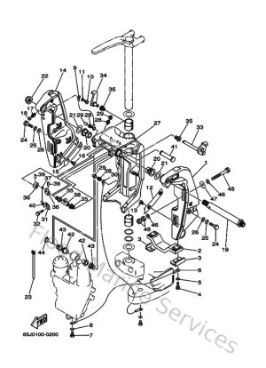
Bracket 1
-
Bracket 2
-
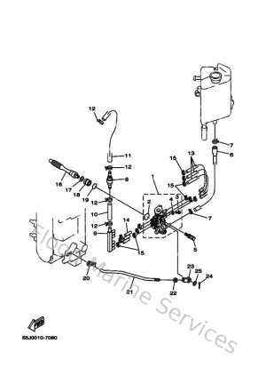
Control
-
Crankshaft & Piston
-
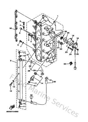
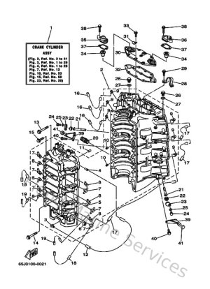
Cylinder & Crankcase
-
Cylinder & Crankcase 2
-
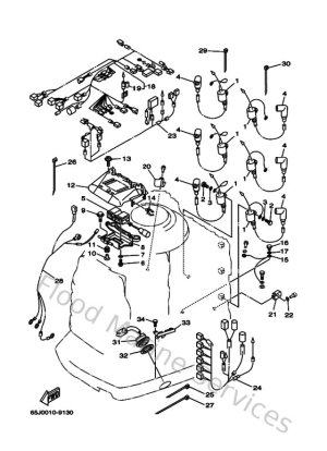
Electrical 1
-
Electrical 2
-
Electrical 3
-
Electrical 4
-
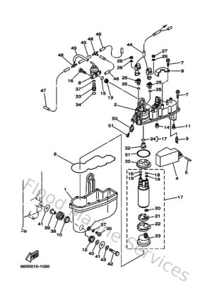
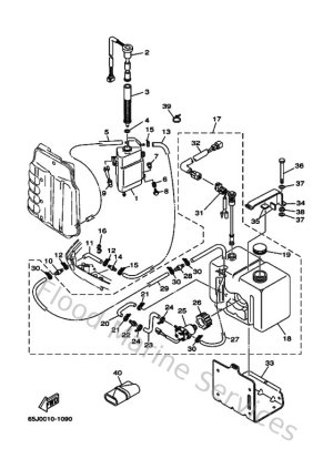
Fuel
-
Fuel 2
-
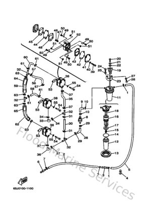
Fuel Injection Nozzle
-
Fuel Injection Pump
-
Generator
-
Intake
-
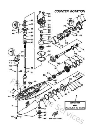
Lower Casing & Drive 3
-
Lower Casing & Drive 4
-
Meter 2
-
Oil Pump
-
Oil Tank
-
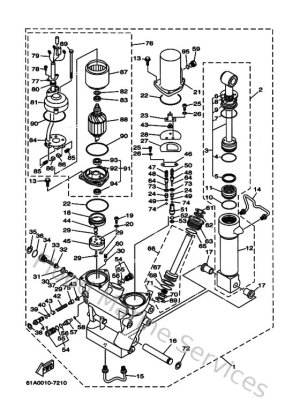
Power Trim & Tilt Assy
-
Remote Control Assy 2
-
Remote Control Box
-
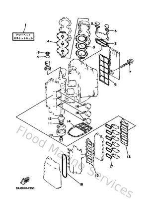
Repair Kit 1
-
Repair Kit 2
-
Starting Motor
-
Steering Guide Attachment 2
-
Switch & Panel
-
Switch & Panel 1
-
Top Cowling
-
Upper Casing