Diagram Sections: L250AETO (1998)
Download as PDF-
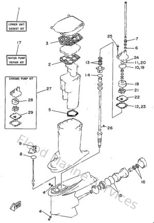
Alternate 1 ((LOWER CASING DRIVE 1:L250A)
-
Alternate 2 ((LOWER CASING DRIVE 2:L250A)
-
Boitier Dhelice, Transmissio (250A)
-
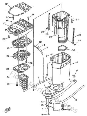
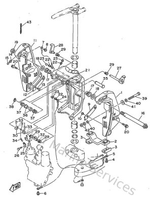
Bracket 1
-
Bracket 2
-
Capot Infprieur
-
Capot Supprieur
-
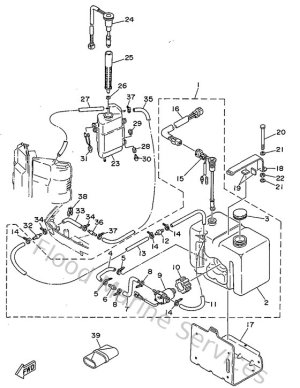
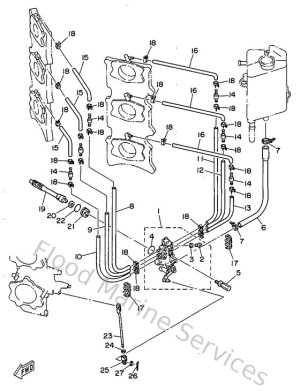
Carburant 1
-
Carburetor
-
Controle
-
Crankshaft & Piston
-
Cylinder. Crankcase 1
-
Cylinder. Crankcase 2
-
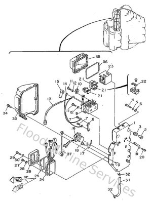
Electrical 1
-
Electrical 2
-
Electrical 3
-
Electrical 4
-
Fuel 2
-
Intake
-
Kits De Reparation 3
-
Magneto
-
Oil Pump
-
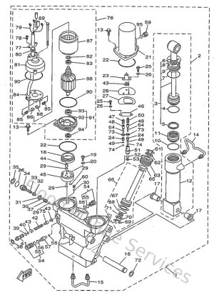
Puissance Pare Et Incliner, En
-
Repair Kit 1
-
Repair Kit 2
-
Rpservoir A Huile
-
Starting Motor
-
Upper Casing