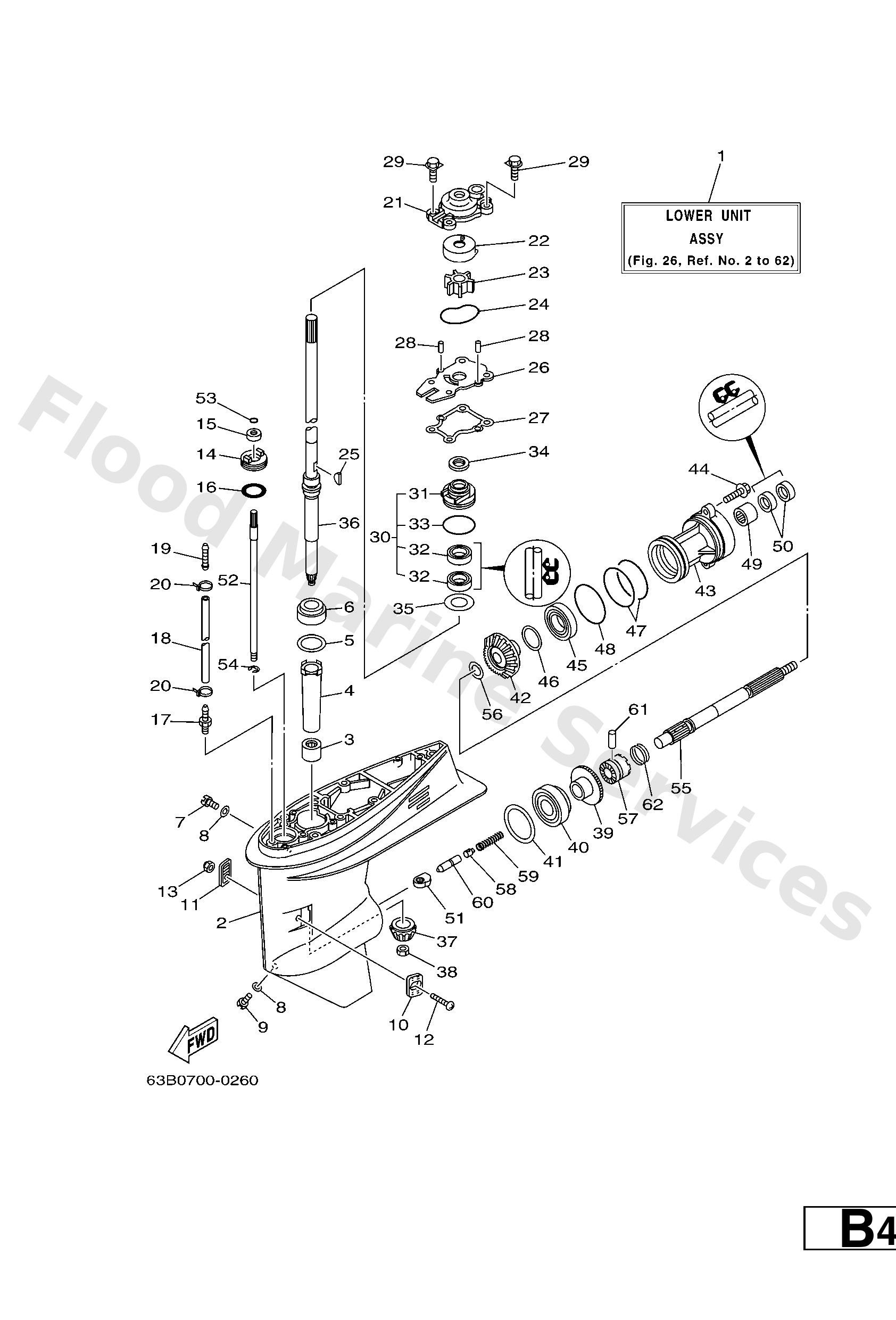
Yamaha 63D45300024D – Lower unit assy

63D45300024D

Lower unit assy
OEM Yamaha 1-year warranty on new parts

About this part

Looking for Yamaha part 63D45300024D? This is the OEM item described as “Lower unit assy” and is manufactured to Yamaha specifications for dependable operation, consistent quality, and straightforward installation.

Why choose genuine Yamaha?

Choosing genuine Yamaha OEM helps avoid problems often seen with pattern parts: mis-sized sealing profiles, inconsistent rubber compounds, poor plating, and connectors that don’t lock correctly. On a marine engine, those small differences can become big issues.

Notes for this part

This is a genuine Yamaha OEM component intended for service and repair work on compatible Yamaha products. OEM specification supports correct fit, correct function, and consistent quality.

If you’re unsure it’s correct for your engine, confirm using your exact model code/serial range and the relevant parts diagram before ordering.

Warranty

Warranty: 1 year on new genuine parts (subject to correct installation and normal use).

Ordering tips

Ordering tip: Yamaha variations can exist within the same year. The safest approach is to confirm the part number against your exact model code / serial range before purchase.

    Correct fit

    OEM spec helps avoid compatibility surprises.

    Marine-ready

    Designed for heat, vibration, salt and moisture.

    Quality controlled

    Consistent materials and manufacturing.

    Warranty

    1 year on new parts (terms apply).