Yamaha Outboard Parts - Boitier Dhelice, Transmissio - 2BMH (1998) | Flood Marine
New Search
Parts
New Outboards
Home
2BMH (1998)
Boitier Dhelice, Transmissio
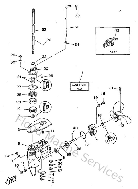
Diagram: Boitier Dhelice, Transmissio
Parts List
Reference
Description
Price
1
6A145300034D
Lower unit assembly
Loading…
↗
2
6A145181004D
Plate
Loading…
↗
3
6A145311024D
Casing Lower
Loading…
↗
5
958950601200
Bolt, flange deep recess
Loading…
↗
6
929900630000
Washer, tooth
Loading…
↗
7
931031105100
Oil seal (11x21x8-646)
Loading…
↗
8
933060000400
Brg,r-b 6000 26mm 19g ky
Loading…
↗
9
904300802000
Gasket
Loading…
↗
10
9034008M0400
Plug, straight screw
Loading…
↗
11
9360518M0400
Pin, dowel b (6a1)
Loading…
↗
12
970800603000
Bolt(jf7)
Loading…
↗
13
929900660000
Washer, plain (646)
Loading…
↗
14
6A1443250000
Protector, oil seal
Loading…
↗
15
6A145361014D
Cap, lower casing
Loading…
↗
16
931031005200
Oil seal (10x21x10-646)
Loading…
↗
17
932104210100
O-ring (183)
Loading…
↗
18
970950601400
Bolt(gj3)
Loading…
↗
20
6A1443120194
Cover,water pump housing
Loading…
↗
21
9310111M4400
Oil seal(6a1)
Loading…
↗
22
932101912300
O-ring (646)
Loading…
↗
23
936040906800
Pin,dowel (646)
Loading…
↗
24
646443660100
Damper, water seal 2
Loading…
↗
25
646443520100
Impeller
Loading…
↗
26
936040906600
Pin, dowel
Loading…
↗
27
646443230000
Outer plate,cartridge
Loading…
↗
28
646443220000
Insert, cartridge
Loading…
↗
29
970950501600
Bolt(6a1)
Loading…
↗
30
929900560000
Washer, plain (646)
Loading…
↗
31
6A1443610000
Tube, water
Loading…
↗
32
646443650000
Damper, water seal 1
Loading…
↗
33
6A1455100100
Drive shaft assembly
Loading…
↗
34
9020111M4900
Washer, plate (6e0)
Loading…
↗
36
646455510000
Pinion
Loading…
↗
37
990010660000
Circlip(53l)
Loading…
↗
38
646455600000
Gear
Loading…
↗
39
646455672000
Shim (t:0.50mm)
Loading…
↗
40
9025003M1000
Pin, straight(6a1)
Loading…
↗
41
914903004500
Pin, cotter (am5)
Loading…
↗
42
6464594401EL
Propeller (3x7-1/4 x4-1/2 -a)
Loading…
↗