Yamaha Outboard Parts - Boitier Dhelice, Transmissio (250A) - L250AETO (1998) | Flood Marine

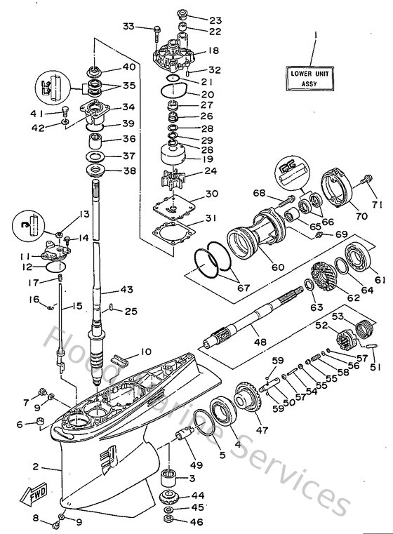
Diagram: Boitier Dhelice, Transmissio (250A)

Diagram

Parts List

Reference
Description
Price