Yamaha Outboard Parts - Bracket 2 - F45A (1996) | Flood Marine

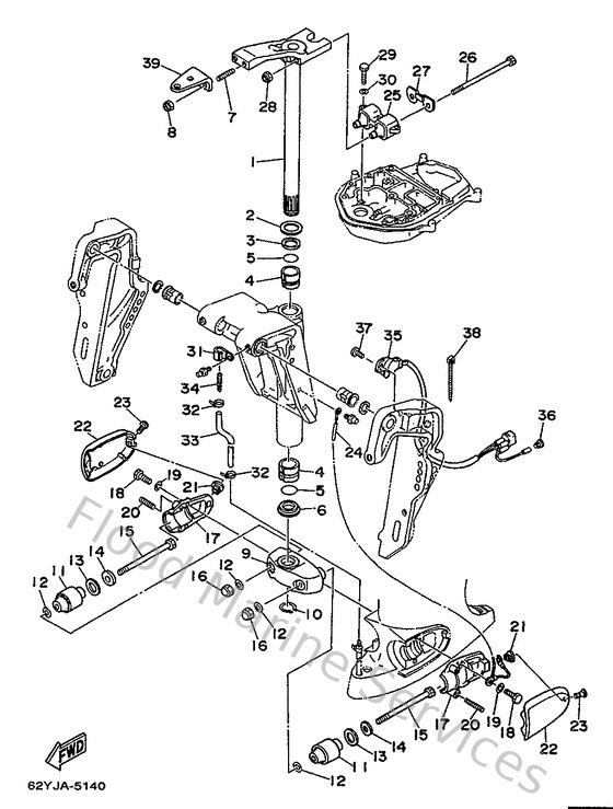
Diagram: Bracket 2

Diagram

Parts List

Reference
Description
Price