Yamaha Outboard Parts - Control - 3AMH (1990) | Flood Marine

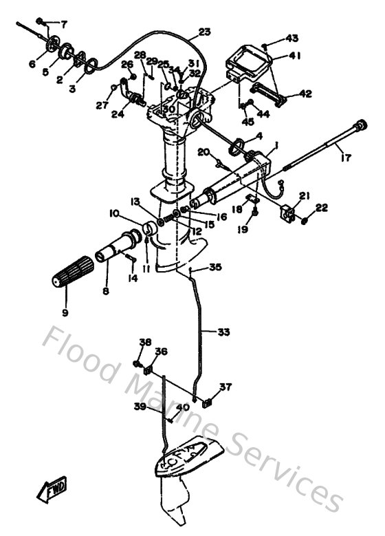
Diagram: Control

Diagram

Parts List

Reference
Description
Price