Yamaha Outboard Parts - Cylinder & Crankcase 1 - 200FETOL (1998) | Flood Marine
New Search
Parts
New Outboards
Home
200FETOL (1998)
Cylinder & Crankcase 1
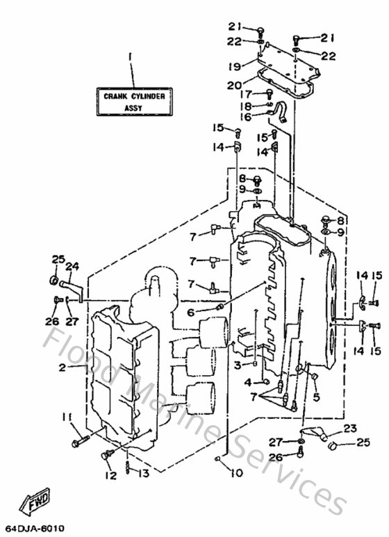
Diagram: Cylinder & Crankcase 1
Parts List
Reference
Description
Price
1
64DW0090114D
Crank cylinder assembly
Loading…
↗
2
64D151000094
Crankcase Assembly
Loading…
↗
3
624113790000
Valve, check
Loading…
↗
4
9038406M0700
Bush, bimetal formed(6r3)
Loading…
↗
5
9038414M0900
Bush, bimetal formed(6r3)
Loading…
↗
6
663115180100
Lock, bearing
Loading…
↗
7
646113700100
Check valve assembly
Loading…
↗
8
9034014M0000
Plug, straight screw(62y)
Loading…
↗
9
904301411500
Gasket (663)
Loading…
↗
10
936081206300
Pin, dowel (626)
Loading…
↗
11
9010510M2000
Bolt (6e5)
Loading…
↗
13
9011608M4500
Bolt, stud (6e5)
Loading…
↗
14
6E5113250000
Anode
Loading…
↗
15
987800401500
Screw, flat head(ga5)
Loading…
↗
16
67H111190100
Hanger, engine
Loading…
↗
17
970130802000
Bolt(6td)
Loading…
↗
18
929900810000
Ybs67-8 washer, spring
Loading…
↗
19
6K711371011S
Cover
Loading…
↗
20
6E511381A200
Gasket 1
Loading…
↗
21
970130602000
Bolt(62y)
Loading…
↗
22
929900660000
Washer, plain (646)
Loading…
↗
23
6E542761001S
Stopper
Loading…
↗
24
6E5427620094
Stopper
Loading…
↗
25
663445330000
Damper, upper mount
Loading…
↗