Yamaha Outboard Parts - Cylinder & Crankcase 2 - 200FETOL (1998) | Flood Marine
New Search
Parts
New Outboards
Home
200FETOL (1998)
Cylinder & Crankcase 2
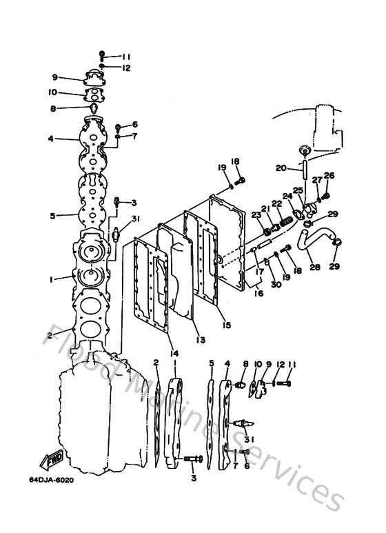
Diagram: Cylinder & Crankcase 2
Parts List
Reference
Description
Price
1
6G5111110494
Head, cylinder 1
Loading…
↗
2
6G511181A100
Gasket, cylinder head 1
Loading…
↗
3
9011908M0700
Bolt, with washer(63v)
Loading…
↗
4
6G511191009M
Cover, cylinder head 1
Loading…
↗
5
6G511193A000
Gasket, head cover 1
Loading…
↗
6
970800603000
Bolt(jf7)
Loading…
↗
7
929900660000
Washer, plain (646)
Loading…
↗
8
6E5124112000
Thermostat
Loading…
↗
9
68812413009M
Cover, thermostat
Loading…
↗
10
68812414A100
Gasket, cover
Loading…
↗
11
970950604000
Bolt (682)
Loading…
↗
13
64D41111009M
Inner cover, exhaust
Loading…
↗
14
6G541112A100
Gasket, exhaust inner cover
Loading…
↗
15
6G541112A000
Gasket, exhaust inner cover
Loading…
↗
16
6R341113009M
Outer cover, exhaust
Loading…
↗
17
652244610000
Pipe, joint
Loading…
↗
18
970140603500
Bolt(3rv)
Loading…
↗
20
90445097F700
Hose (l1500)
Loading…
↗
21
6G5124160000
Valve, pressure control
Loading…
↗
22
9050116M1100
Spring, compression (688)
Loading…
↗
23
9048020M0500
Grommet (688)
Loading…
↗
24
6G511382A100
Gasket 2
Loading…
↗
25
6G511372005B
Cover, bypass 2
Loading…
↗
26
970130602000
Bolt(62y)
Loading…
↗
28
6G5125760000
Hose 1
Loading…
↗
29
9046513M3900
Clamp(6e8)
Loading…
↗
30
904650802800
Clamp (1e6)
Loading…
↗
31
947020024700
Plug, spark (br8hs-10)
Loading…
↗