Yamaha Outboard Parts - Intake - F45A (1996) | Flood Marine
New Search
Parts
New Outboards
Home
F45A (1996)
Intake
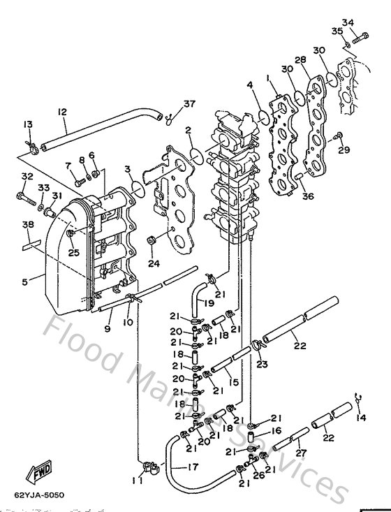
Diagram: Intake
Parts List
Reference
Description
Price
1
62Y135860094
Joint Carburetor 1
Loading…
↗
2
9321035M8600
O-ring(6l2)
Loading…
↗
3
9321038MH300
O-ring(62y)
Loading…
↗
4
9321030MH400
O-ring(62y)
Loading…
↗
5
62Y144400000
Silencer assembly, intake
Loading…
↗
6
9038706M7000
Collar (6h5)
Loading…
↗
7
970950609000
Bolt(62y)
Loading…
↗
8
929900660000
Washer, plain (646)
Loading…
↗
9
9044507M3800
Hose (l570)
Loading…
↗
10
9046511M1000
Clamp
Loading…
↗
11
9046410M3200
Clamp(6m7)
Loading…
↗
12
62Y153730000
Pipe, Breather
Loading…
↗
13
9046513M3600
Clamp(6h4)
Loading…
↗
14
9046710M0400
Clip, pipe 1 (6e9)
Loading…
↗
15
9044510M3300
Hose (l1040)
Loading…
↗
16
9044510M8500
Hose (l400)
Loading…
↗
17
62Y243110000
Pipe, Fuel 1
Loading…
↗
18
9044510M1400
Hose (l400)
Loading…
↗
19
62Y243130000
Pipe, fuel 1
Loading…
↗
20
688243780000
Pipe, joint
Loading…
↗
21
904651009800
Clamp
Loading…
↗
22
9044516M0000
Hose
Loading…
↗
24
904801122400
Grommet (2h7)
Loading…
↗
26
62Y243780000
Pipe, joint 4
Loading…
↗
27
9044510M1800
Hose (l400)
Loading…
↗
28
62Y142710000
Insulator
Loading…
↗
29
9033804M1700
Plug(62y)
Loading…
↗
31
9038706M1500
Collar(6g8)
Loading…
↗
32
970950603000
Bolt(jf7)
Loading…
↗
34
9010106M2700
Bolt
Loading…
↗
36
9360816M1600
Pin, dowel(6t4)
Loading…
↗
37
9046715M1400
Clip(62y)
Loading…
↗
38
6E0441911100
Indicator, shift
Loading…
↗