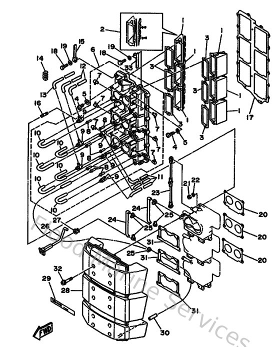
Yamaha Outboard Parts - Intake - L200BETOL (1991) | Flood Marine

Diagram: Intake

Diagram