Yamaha Outboard Parts - Lower Casing & Drive 1 - 15DWH (1986) | Flood Marine
New Search
Parts
New Outboards
Home
15DWH (1986)
Lower Casing & Drive 1
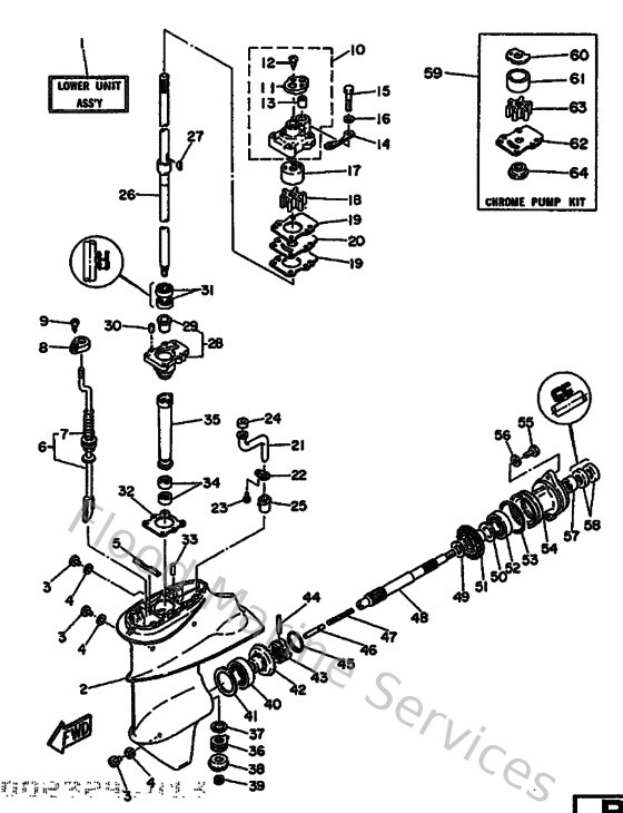
Diagram: Lower Casing & Drive 1
Parts List
Reference
Description
Price
3
903400801400
Plug, straight screw
Loading…
↗
4
904300802000
Gasket
Loading…
↗
5
682453760100
Guide, seal damper
Loading…
↗
6
682441501000
Shift Cam Assembly
Loading…
↗
7
682441470000
Boot, shift rod
Loading…
↗
8
682441760000
Bracket
Loading…
↗
9
977805051000
Screw, tapping(6u1)
Loading…
↗
10
682443000100
Housing water pump assembly
Loading…
↗
11
682443120000
Cover, water pump housing
Loading…
↗
12
977804011200
Screw, pan head tapping
Loading…
↗
13
682443650000
Damper, water seal 1
Loading…
↗
14
682443280000
Plate
Loading…
↗
15
973950604000
Bolt (682)
Loading…
↗
16
929900620000
Ybs66-6 washer, plain
Loading…
↗
18
682443520300
Impeller
Loading…
↗
19
682443150000
Gasket,water pump 1
Loading…
↗
20
682443230000
Outer plate, cartridge
Loading…
↗
21
683443620100
Tube, water 2
Loading…
↗
22
683443730000
Set plate, water tube
Loading…
↗
23
973950601000
Bolt
Loading…
↗
24
683443650100
Damper, water seal 1
Loading…
↗
25
6E7443660000
Damper, water seal 2
Loading…
↗
26
6E7455011100
Drive shaft comp.
Loading…
↗
27
902800302400
Key, woodruff(662)
Loading…
↗
28
6E745331009M
Housing, bearing
Loading…
↗
29
626453160900
Bushing, drive shaft 1
Loading…
↗
30
936061201900
Pin, dowel (614)
Loading…
↗
31
931012004800
Oil seal (20x30x6-648)
Loading…
↗
32
683453150000
Packing,lower casing
Loading…
↗
33
936040806200
Pin,dowel (626)
Loading…
↗
34
93315314V000
Bearing Needle (6E7)
Loading…
↗
35
6E7455360000
Sleeve, drive shaft
Loading…
↗
36
93341214U100
Bearing, thrust (6e7)
Loading…
↗
37
6E7455870150
Shim 3
Loading…
↗
38
6E7455510000
Pinion
Loading…
↗
39
9017908M0600
Nut (6e7)
Loading…
↗
40
933320000500
Brg,cyl-cal roller 0.19g nt
Loading…
↗
41
664455676000
Shim (t:0.50mm)
Loading…
↗
42
6E7455600000
Gear
Loading…
↗
43
682456310000
Clutch, dog
Loading…
↗
44
902500501000
Pin straight 648456320000
Loading…
↗
45
648456330000
Ring, cross pin
Loading…
↗
46
650456350000
Plunger, shift
Loading…
↗
47
9050114M0600
Spring, compression
Loading…
↗
48
683456110000
Shaft propeller
Loading…
↗
49
902011768200
Washer, plate (2k7)
Loading…
↗
50
626455770001
Shim (t:0.10mm)
Loading…
↗
51
6E7455710000
Gear 2
Loading…
↗
52
933060050100
Bearing(1ff)
Loading…
↗
53
9321057M0900
O-ring (683)
Loading…
↗
54
999990223000
Cap, lower casing set (683)
Loading…
↗
55
973950602000
Bolt(7u8)
Loading…
↗
56
929900660000
Washer, plain (646)
Loading…
↗
57
93315317U200
Brg,cyl-cal roller 14g (683)
Loading…
↗
58
931011705400
Oil seal (17x30x6-650)
Loading…
↗
60
682443214000
Inner Plate Cartridge(Chrome)
Loading…
↗
61
682443224000
Insert, cartridge(chrome)
Loading…
↗
62
682443234000
Outer plate, cartridge(chrome)
Loading…
↗
63
682443520100
Impeller
Loading…
↗
64
682453440000
Cover, oil seal
Loading…
↗