Yamaha Outboard Parts - Oil Tank - LZ200NETO (2000) | Flood Marine
New Search
Parts
New Outboards
Home
LZ200NETO (2000)
Oil Tank
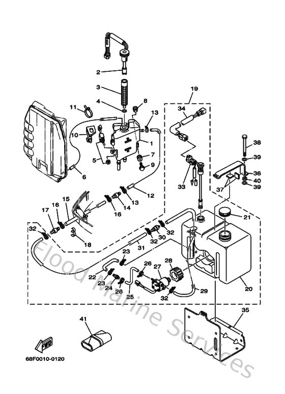
Diagram: Oil Tank
Parts List
Reference
Description
Price
1
68F217500000
Oil tank assembly
Loading…
↗
2
67H857300000
Oil level gauge assembly
Loading…
↗
3
6E5134110000
Strainer, oil
Loading…
↗
4
6E5134140000
Gasket, strainer cover
Loading…
↗
5
6R38259E0000
Switch assembly
Loading…
↗
6
9044507M4300
Hose (l600)
Loading…
↗
7
6A0823170000
Damper, ignition coil
Loading…
↗
8
624425420000
Collar
Loading…
↗
9
9011906M6500
Bolt, with washer
Loading…
↗
10
9046512M9200
Clamp
Loading…
↗
11
9046511M5200
Clamp(6e7)
Loading…
↗
12
6E5243230000
Pipe 12
Loading…
↗
13
9046511M1000
Clamp
Loading…
↗
14
6E5243790000
Pipe, joint 4
Loading…
↗
15
9044512M1300
Hose (L880)
Loading…
↗
16
904651009800
Clamp
Loading…
↗
18
9046413M3400
Clamp(6r3)
Loading…
↗
19
6E5217080800
Sub oil tank assembly
Loading…
↗
20
6E5217332000
Sub tank, oil (10.5l)
Loading…
↗
21
6E5217700300
Oil tank cap assembly
Loading…
↗
22
6E5243220000
Pipe 11
Loading…
↗
24
646242510200
Strainer 1
Loading…
↗
25
6E5243190100
Pipe, oil
Loading…
↗
27
6E5819000100
Oil feed pump assembly
Loading…
↗
28
6E5819220000
Grommet
Loading…
↗
29
6E5243210100
Pipe 10
Loading…
↗
31
9044511M8100
Hose (l3000)
Loading…
↗
33
6E5857200400
Oil level gauge assembly
Loading…
↗
34
6R3857213000
Wire, lead
Loading…
↗
35
6E5217340133
Holder, oil sub tank
Loading…
↗
36
6E5217980133
Bracket, damper
Loading…
↗
37
6E5217460000
Damper
Loading…
↗
38
970800610000
Bolt, hexagon
Loading…
↗
39
929900660000
Washer, plain (646)
Loading…
↗
40
953800660000
Nut(661)
Loading…
↗
41
68F281000000
Tool kit
Loading…
↗