Genuine Yamaha Outboard Parts Diagrams | Flood Marine
New Search
Parts
New Outboards
Home
F225BET (2025)
REPAIR KIT 2
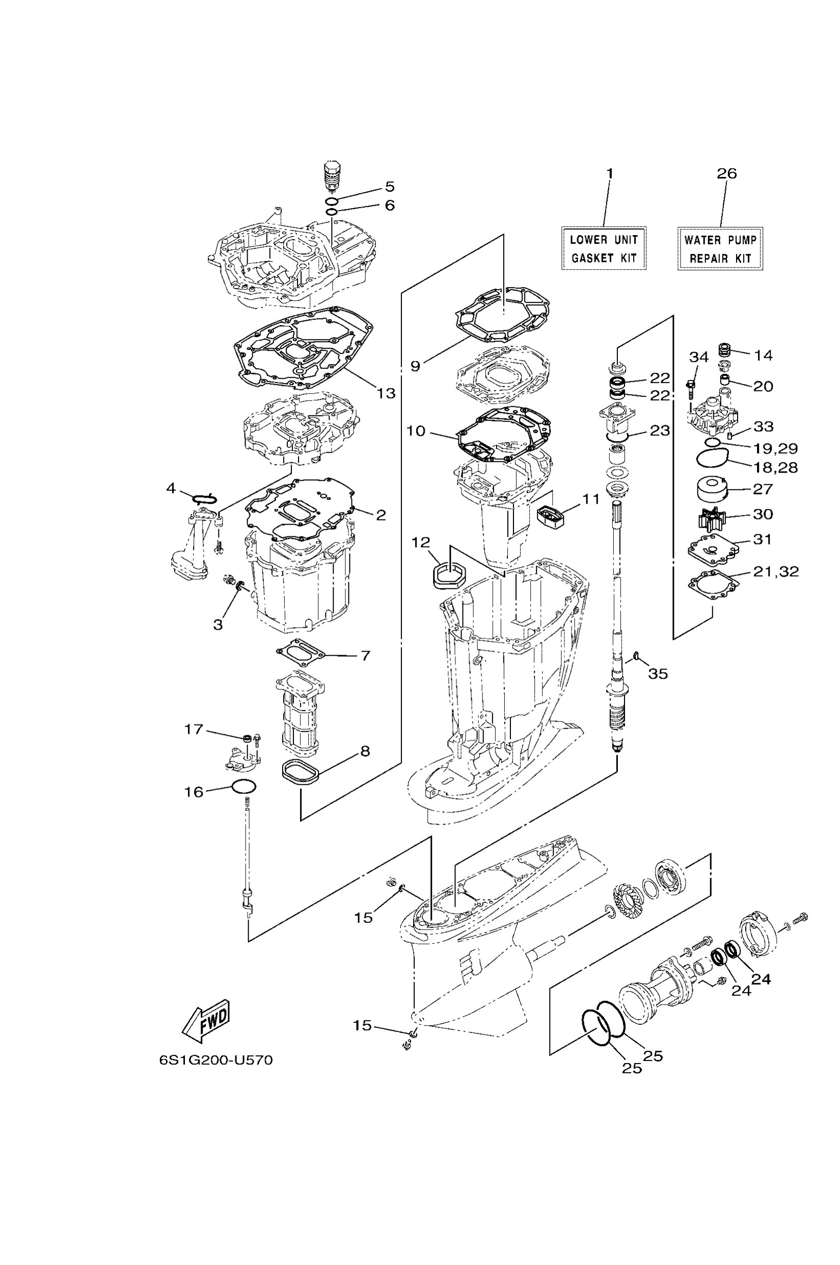
Diagram: REPAIR KIT 2
Parts List
6P2W000124
Lower unit gasket kit
Diagram Reference: 1
Get Part
69J1531202
Gasket, oil pan
Diagram Reference: 2
Get Part
9043014M09
Gasket
Diagram Reference: 3
Get Part
69J1341500
Seal, oil strainer
Diagram Reference: 4
Get Part
93210347A1
O-ring
Diagram Reference: 5
Get Part
9321028543
O-ring(72f)
Diagram Reference: 6
Get Part
6P24113400
Gasket, exhaust manifold
Diagram Reference: 7
Get Part
69J4113800
Seal, ext. 1
Diagram Reference: 8
Get Part
69J41135A0
Gasket, exhaust manifold
Diagram Reference: 9
Get Part
6S14113601
Gasket, exhaust manifold 4
Diagram Reference: 10
Get Part
69J4512701
Seal
Diagram Reference: 11
Get Part
69J4512300
Gasket, muffler
Diagram Reference: 12
Get Part
69J4511321
Gasket, upper casing
Diagram Reference: 13
Get Part
6E54436601
Damper, water seal 2
Diagram Reference: 14
Get Part
9043008003
Gasket
Diagram Reference: 15
Get Part
9321064488
93210-64488
Diagram Reference: 16
Get Part
9310609014
Oil seal
Diagram Reference: 17
Get Part
9321086M38
O-ring (6e5)
Diagram Reference: 18
Get Part
9321037160
O-ring (6g8)
Diagram Reference: 19
Get Part
6E54436501
Damper, water seal 1
Diagram Reference: 20
Get Part
6E544315A0
Gasket,water pump
Diagram Reference: 21
Get Part
9310128019
Oil seal
Diagram Reference: 22
Get Part
9321055M14
O-ring (70e)
Diagram Reference: 23
Get Part
9310130030
Oil seal
Diagram Reference: 24
Get Part
9321104384
O-ring (705)
Diagram Reference: 25
Get Part
61AW0078A4
Water pump repair kit
Diagram Reference: 26
Get Part
61A4432202
Insert, cartridge
Diagram Reference: 27
Get Part
6E54435201
Impeller
Diagram Reference: 30
Get Part
6G54432301
Outer plate, cartridge
Diagram Reference: 31
Get Part
9360612019
Pin, dowel (614)
Diagram Reference: 33
Get Part
9011908191
Bolt, with washer
Diagram Reference: 34
Get Part
9028004M05
Key, woodruff (6e5)
Diagram Reference: 35
Get Part