Yamaha Outboard Parts - Starter - 25QEO (1997) | Flood Marine
New Search
Parts
New Outboards
Home
25QEO (1997)
Starter
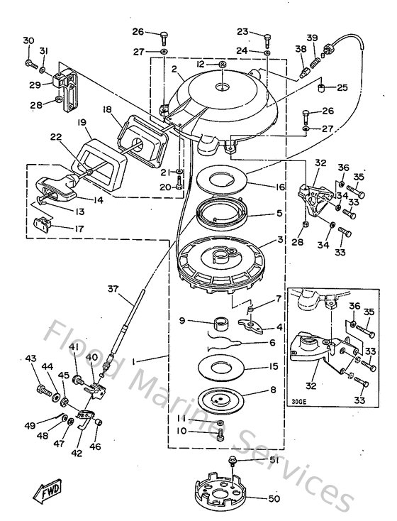
Diagram: Starter
Parts List
Reference
Description
Price
1
61NW15711100
Starter assembly
Loading…
↗
2
61N157111000
Case, starter
Loading…
↗
3
6G0157140100
Drum, sheave
Loading…
↗
4
6F5157410100
Powl, drive
Loading…
↗
5
6F5157130100
Spring, starter
Loading…
↗
6
61N157150000
Spring, drive plate
Loading…
↗
7
61N157340000
Spring, return
Loading…
↗
8
6F5157160100
Drive, plate
Loading…
↗
9
6G0157540000
Bushing 2
Loading…
↗
10
970130803000
Bolt
Loading…
↗
11
6F5157260100
Washer, lock
Loading…
↗
12
953040870000
Nut(661)
Loading…
↗
14
689157550100
Handle, starter
Loading…
↗
15
6F5157640000
Collar
Loading…
↗
16
6F5157390000
Washer, thrust 2
Loading…
↗
17
6F5157790200
Cover
Loading…
↗
18
61N15758004D
Guide, Rope
Loading…
↗
19
61N157620000
Seal, rubber 2
Loading…
↗
20
970950601600
Bolt, hexagon deep recess
Loading…
↗
21
929900660000
Washer, plain (646)
Loading…
↗
22
697157890000
Damper
Loading…
↗
23
970950603500
Bolt(j52)
Loading…
↗
25
995301001400
Pin, dowel
Loading…
↗
28
953800660000
Nut(661)
Loading…
↗
29
6H7157710194
Stay 1
Loading…
↗
30
970950602500
Bolt
Loading…
↗
32
656157720000
Stay 2
Loading…
↗
33
970800603000
Bolt(jf7)
Loading…
↗
35
970130604500
Bolt, hexagon
Loading…
↗
37
61T157700000
Cable comp., starter stop
Loading…
↗
38
656157480000
Plunger, starter stop
Loading…
↗
39
905011022700
Spring, comprreshion(656)
Loading…
↗
40
61T157744094
Stay 4
Loading…
↗
41
970950601000
Bolt
Loading…
↗
42
656157490000
Link comp, starter stop
Loading…
↗
43
970950602000
Bolt(7u8)
Loading…
↗
45
902060801000
Washer(656)
Loading…
↗
46
903870656800
Collar (3l6)
Loading…
↗
47
902060500500
Washer, wave(656)
Loading…
↗
48
929900560000
Washer, plain (646)
Loading…
↗
49
914901601000
Pin, cotter
Loading…
↗
51
9010508M1000
Bolt (6a0)
Loading…
↗