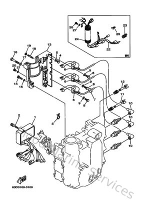
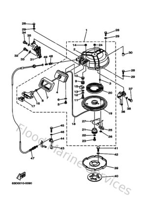
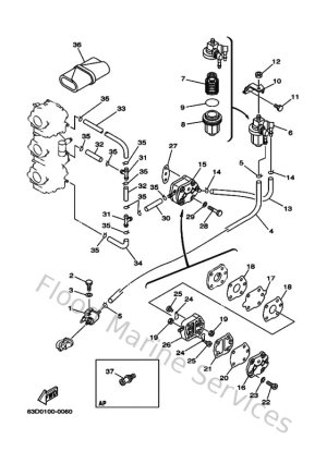
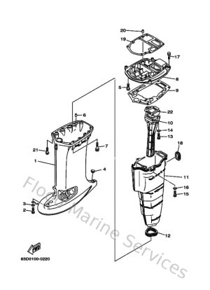
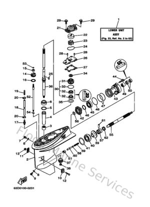
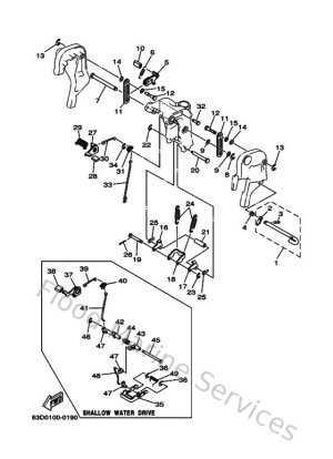
Diagram Sections: 40VMO (2000)

Download as PDF